新型免吹掃長壽命精煉鋼包彌散型透氣磚
2026-04-16 04:22:22
彌散型透氣磚是一種新型免吹掃長壽命精煉鋼 包磚。這種磚通常通過添加造孔材料和合理控製顆粒尺寸分布,以獲得大量非定向不規則分布、尺chi寸cun各ge異yi的de貫guan通tong氣qi孔kong而er製zhi成cheng,底di吹chui氣qi體ti經jing由you這zhe些xie貫guan通tong氣qi孔kong進jin入ru冶ye金jin設she備bei。早zao期qi的de鋼gang包bao透tou氣qi磚zhuan都dou是shi鎂mei質zhi和he剛gang玉yu質zhi材cai料liao經jing過guo機ji壓ya成cheng型xing成cheng錐zhui形xing分fen體ti式shi透tou氣qi磚zhuan,其qi使shi用yong壽shou命ming較jiao短duan。受shou機ji器qi壓ya力li傳chuan導dao所suo限xian,早zao期qi的de彌mi散san型xing透tou氣qi磚zhuan厚hou度du較jiao薄bo,一yi般ban都dou在zai300mm以下。目前,這種形式的彌散型透氣磚在有色行業和中頻爐底吹氬還在繼續使用。
隨sui著zhe潔jie淨jing鋼gang發fa展zhan對dui透tou氣qi磚zhuan要yao求qiu的de提ti高gao以yi及ji鋼gang包bao燒shao氧yang操cao作zuo對dui透tou氣qi磚zhuan損sun毀hui機ji理li的de深shen入ru研yan究jiu,為wei滿man足zu用yong戶hu對dui鋼gang包bao精jing煉lian用yong透tou氣qi磚zhuan提ti出chu的de淨jing化hua效xiao果guo好hao、免mian燒shao氧yang的de新xin要yao求qiu,國guo內nei外wai生sheng產chan廠chang家jia近jin些xie年nian都dou開kai始shi重zhong新xin研yan究jiu新xin型xing鋼gang包bao精jing煉lian用yong彌mi散san型xing透tou氣qi磚zhuan,並bing研yan發fa出chu獨du具ju特te色se的de複fu合he型xing彌mi散san透tou氣qi磚zhuan,逐zhu漸jian推tui廣guang應ying用yong到dao鋼gang包bao精jing煉lian爐lu上shang,實shi現xian了le鋼gang包bao精jing煉lian爐lu的de長chang壽shou節jie能neng並bing降jiang本ben。新xin型xing彌mi散san透tou氣qi磚zhuan具ju有you如ru下xia優you點dian:
一是使用過程不易產生熱震斷裂現象;吹氬的氣泡更細小,對鋼水淨化效果更好;不像狹縫型透氣磚需要經常燒氧清掃,該磚幾乎不用氧槍清掃;由you於yu采cai用yong彌mi散san磚zhuan和he澆jiao注zhu狹xia縫feng磚zhuan上shang下xia複fu合he,當dang用yong到dao狹xia縫feng磚zhuan時shi,很hen容rong易yi看kan到dao氣qi道dao的de不bu同tong,使shi氣qi道dao報bao警jing作zuo用yong增zeng強qiang,報bao警jing效xiao果guo更geng明ming顯xian。新xin型xing彌mi散san透tou氣qi磚zhuan透tou氣qi部bu分fen由you氣qi體ti經jing過guo底di部bu。當dang彌mi散san磚zhuan使shi用yong完wan後hou,在zai鋼gang包bao熱re修xiu位wei置zhi就jiu能neng明ming顯xian地di看kan到dao狹xia縫feng透tou氣qi通tong道dao,這zhe個ge時shi候hou就jiu代dai表biao使shi用yong到dao報bao警jing位wei置zhi了le,鋼gang包bao上shang的de透tou氣qi磚zhuan即ji到dao安an全quan下xia線xian位wei置zhi。
二是隨著熱修工人招工越來越難、熟練工人逐漸退休,從事鋼包燒氧這種操作工人越來越少,勢必要求免燒型透氣磚廣泛應用;隨著節能降耗觀念深入人心,鋼包加蓋越來越普及,鋼包加蓋後給透氣磚燒氧操作帶來更大的障礙,勢必要求透氣磚具有自清掃、免清掃的性能;潔淨鋼的發展和特種鋼的冶煉,需要透氣效果更好的、淨化效果更好的彌散型透氣磚的應用。根據以上發展趨勢來看,國內彌散型透氣磚應用會迎來比較大的發展機會。
三是通過磚體結構的複合設計、peifangdegaochunhuaheyanghuagaodeshiyong,yijichaogaowenshaocheng,misantouqizhuanshoumingchaoguolechuantongxiafengtouqizhuanshouming,youqizaiteganghejinglianganglingyuzhanxianchulegengtuchudekangshentou、高壽命性能。
新型彌散型透氣磚的技術發展的主要趨勢和方向如下:
從製備技術看:有球形顆粒、顆粒堆積、氣孔的形成方式,以及其他成型方式;
從長壽化技術看:有技術方案的優化、原料的優化、燒成溫度的優化等;
從狹縫彌散複合方式的優化看:應注重研發如何使狹縫與彌散型透氣磚複合,以及狹縫氣道的形成方式等;
從新型結構方式的優化看:應研發如何實現自動報警、流量報警、溫度報警等。

複合型彌散透氣磚磚芯生產成品

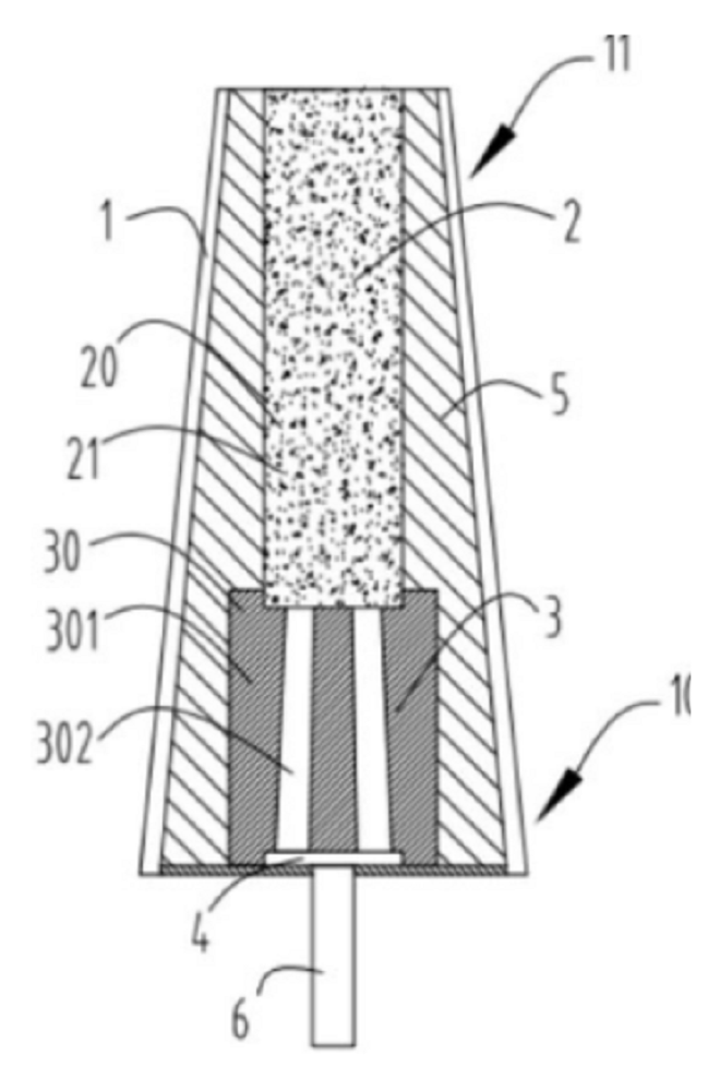
圖為複合型彌散透氣磚內部結構圖

圖為複合型彌散透氣磚 剖麵示意圖
來源:北京聯合榮大工程材料股份有限公司專家組
編輯:張雨恬
相關文檔
版權說明
【1】 凡本網注明"來源:中國冶金報—中國鋼鐵新聞網"的所有作品,版權均屬於中國鋼鐵新聞網。媒體轉載、摘編本網所刊 作品時,需經書麵授權。轉載時需注明來源於《中國冶金報—中國鋼鐵新聞網》及作者姓名。違反上述聲明者,本網將追究其相關法律責任。
【2】 凡本網注明"來源:XXX(非中國鋼鐵新聞網)"的作品,均轉載自其它媒體,轉載目的在於傳遞更多信息,並不代表本網 讚同其觀點,不構成投資建議。
【3】 如果您對新聞發表評論,請遵守國家相關法律、法規,尊重網上道德,並承擔一切因您的行為而直接或間接引起的法律 責任。
【4】 如因作品內容、版權和其它問題需要同本網聯係的。電話:010—010-64411649
【2】 凡本網注明"來源:XXX(非中國鋼鐵新聞網)"的作品,均轉載自其它媒體,轉載目的在於傳遞更多信息,並不代表本網 讚同其觀點,不構成投資建議。
【3】 如果您對新聞發表評論,請遵守國家相關法律、法規,尊重網上道德,並承擔一切因您的行為而直接或間接引起的法律 責任。
【4】 如因作品內容、版權和其它問題需要同本網聯係的。電話:010—010-64411649
地址:北京市朝陽區安貞裏三區26樓 郵編:100029 電話:(010)64442120/(010)64442123 傳真:(010)64411645 電子郵箱:
中國冶金報/中國鋼鐵新聞網法律顧問:大成律師事務所 楊貴生律師 電話: Email:
中國鋼鐵新聞網版權所有,未經書麵授權禁止使用 京ICP備07016269號 京公網安備11010502033228




























